100D定水位閥
品牌:三精閥門
產品型號: 100D
驅動方式: 手動
連接形式: 法蘭
結構形式: 隔膜式
密封材料: 橡膠
壓力范圍: 0.6~4.0MPa
公稱通徑: DN20-DN80
常用材質: 碳鋼、不銹鋼



100D定水位閥產品概述
100D定水位閥是一種隔膜是調節水箱和水塔液面高度的閥門。定水位閥由浮球控制,當液面達到設定高度時閥門通過相關結構將信號傳遞給水泵,水泵停止供水;當液面低于社定位置時水泵自動啟動供水。定水位閥動作平穩,有效防止開泵水錘和停泵水錘的產生,避免管道產生過高的壓力。定水位閥適用于水箱、水塔的自動供水系統。該閥保養簡單、靈活耐用、液位控制準確度高,水位不受水壓干擾且關閉緊密不漏水,性能可靠。
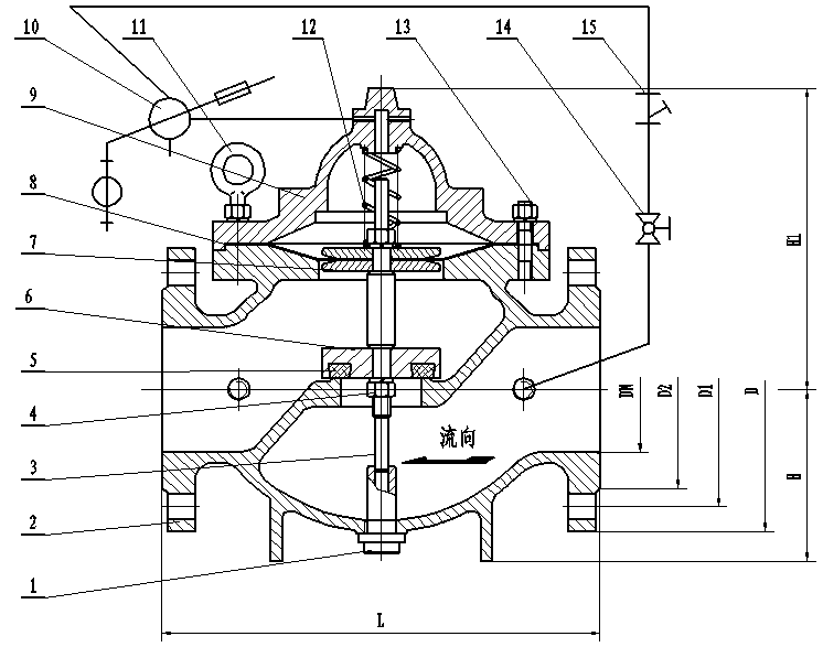
100D定水位閥結構及用途
100D定水位閥用于水池或水塔的自動供水系統,當液面水位達到設定高度時閥門通過相關結構將信號傳遞給水泵,水泵停止供水,當液面低于設定位置時水泵自動啟動供水,有效防止停泵產生水錘,避免管路產生過高壓力,100S角式排泥閥控制靈敏,液位控制準確度高,水位不受水壓干擾且關閉緊密不漏水,性能可靠,使用壽命長。
100D定水位閥設計選用要點
1、工程式中應用的水力控制閥是經過制造廠檢驗合格,各種標識齊全,技術資料符合要求的產品。
2、根據功能要求,選擇閥門種類,再根據管道輸送介質、溫度、建筑標準和業主 要要求 等,確定閥門的閥體和密封部位的材質。常用的閥 體材料有鑄鐵 、銅鐵、銅、塑料等。常用的密封面和襯里材料有銅合金、塑料、鋼、硬質合金、橡膠等。閥 體材料應與管道材料相匹配。
3、閥門的公稱壓力有0.6、1.0、1.6、2.5和4.0MPa等不同級別,管道輸送的介質,其工作壓力應小于閥門的公稱壓力值。
4、工程中水力控制閥的設置應當有足夠的空間,以便管理、操作、安裝和維修,并應符合管路對閥門的要求。
5、管路采用法蘭連接時,應采用法蘭連接的水力控制閥;管路采用溝槽式連接時,應采用溝槽式連接的水力控制閥。
6、水利控制閥應設置在介質單向流動的管路上。
7、水利控制閥主閥體上的箭頭方向必須與管路系統流向一致。
8、接水力控制閥管段不 應有氣堵 、氣阻現象。在管網高位置 等存氣段 應設置自動排氣閥。
9、閥門水平安裝時,閥蓋、閥桿應朝上。垂直安裝時,閥蓋、閥桿應朝外。
10、閥門安裝前應做強度和嚴密性試驗。
11、閥門的強度和嚴密性試驗應符合以下規定。
100D定水位閥工作原理
當管道從進水端進水使水位達到高水位時,浮球導閥打開進入主閥的控制通道,控制室內的壓力增大,使主閥關閉。當水位下降到低水位時,浮球導閥關閉進入主閥的控制通道,并使控制室與大氣相通,控制室內不能形成壓力,則進入主閥盤下面的進口壓力將主閥托起,打開主閥盤向水箱或水池大量供水。
100D定水位閥主要技術參數
| 公稱壓(Mpa) | 殼體試驗壓力(MPa) | 密封試驗壓力(MPa) | 適用介質 | 介質溫度(℃) |
| 1.0 | 1.5 | 1.1 | 水 | 0~80 |
| 1.6 | 2.4 | 1.76 | ||
| 2.5 | 3.75 | 2.75 |
100D定水位閥產品參數
100D定水位閥主要外形及連接尺寸



